电话:0632-6069163
邮箱:zzsdgg@163.com
地址:山东省枣庄市市中区振兴路11号
发布时间:2025-11-19 点此:1193次
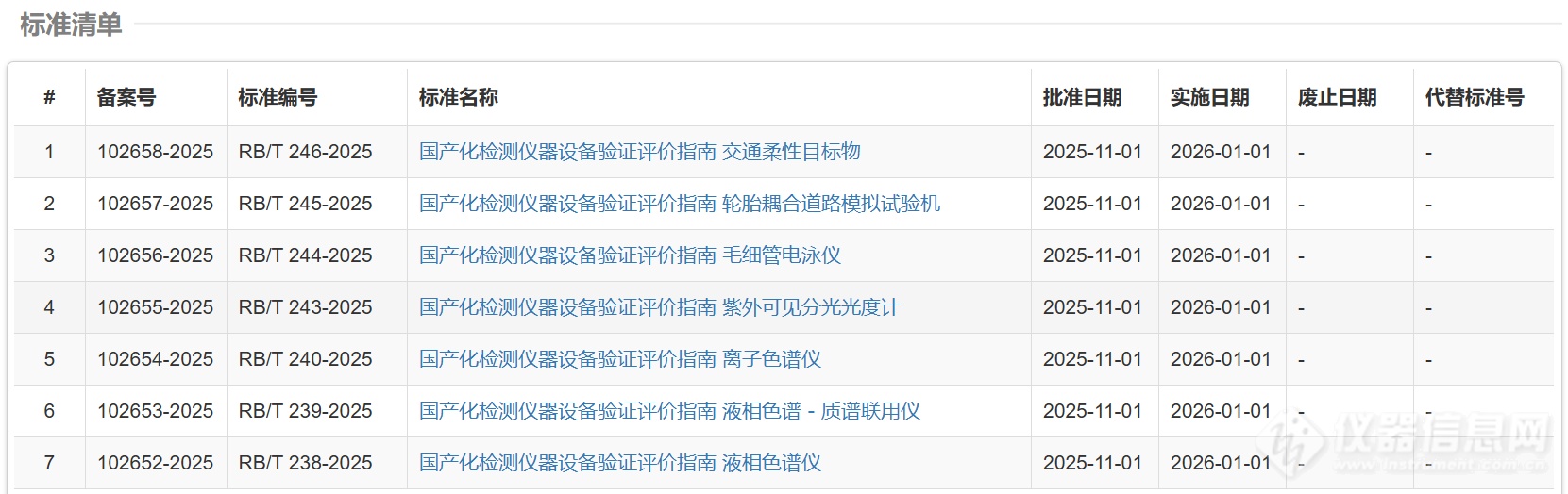
2025年11月,国家认监委公布《国产化检测仪器设备验证评价指南 液相色谱仪》等7项认证认可行业标准,包括液相色谱仪、液相色谱-质谱联用仪、离子色谱仪、紫外分光光度计、毛细管电泳仪、轮胎耦合道路模拟试验机、交通柔性目标物。这是为贯彻《“十四五”市场监管现代化规划》(国发〔2021〕30号)精神,推动中高端检验检测仪器设备国产化和质量提升的又一大进展。

然而,这并非国家认监委首次发布国产化仪器设备验证评价指南。早在2024年5月,就曾发布过5项标准,涉及气相色谱仪、原子吸收分光光度计、交流电力底盘测功机 、道路交通柔性目标驱动平台车以及氢燃料电池堆测试设备。



《检测仪器设备国产化验证评价指南》的制定是推动国产仪器设备高质量发展的关键一步。从行业整体发展角度而言,这些指南将促进国产检测仪器设备行业的规范化和标准化发展,推动行业内的企业形成良性竞争格局,共同推动国产检测仪器设备行业迈向新的高度。